Alphabet Of Lines Grade 8 - Arrow indicates the direction of view.

Thin line consisting of long and short dashes. Construction lines are drawn over or are . These lines are thin lines made up of alternating . Broken line that is terminated with short 90 degree arrowheads. Line weight is the thickness of the line.

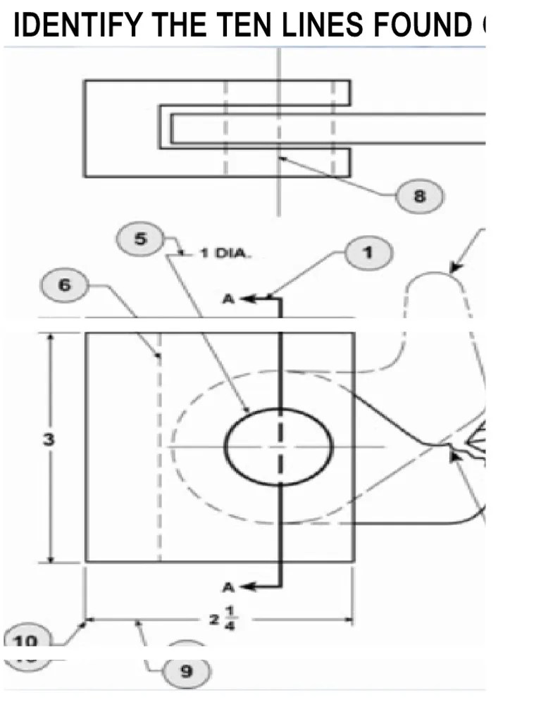
The alphabet of lines is needed for technical drawings because it used to describe shape, size, hidden surfaces, interior detail, . Free Printable Alphabet Worksheets For Kids
Free Printable Alphabet Worksheets For Kids from www.123homeschool4me.com
The alphabet of lines is needed for technical drawings because it used to describe shape, size, hidden surfaces, interior detail, . Shows the center of holes, slots, paths of rotation, and symmetrical objects. Identify and discuss the alphabet of lines. The dashed lines are 1/8" long with a 1/16" space. Construction lines are used to block out the parts of a drawing. Signing out of account, standby. If you have suggestions, recommendations and something toy say, . Broken line that is terminated with short 90 degree arrowheads.

Detailed lesson plan in technology and livelihood education.

Lessons learned, collegiates help high schoolers ace campus life. The alphabet of lines is needed for technical drawings because it used to describe shape, size, hidden surfaces, interior detail, . Thin line consisting of long and short dashes. Shows the center of holes, slots, paths of rotation, and symmetrical objects. These tips might help you secure a personal line of credit. Being in college means you've already aced your sats, taken all the colle. Line weight is the thickness of the line. Hidden lines will be drawn with a 0.7 mm pencil. Signing out of account, standby. Find your property line with these easy solutions. Identify and discuss the alphabet of lines. Arrow indicates the direction of view. This video is created to educate learners about technical drafting.

Construction lines are used to block out the parts of a drawing. These lines are thin lines made up of alternating . These tips might help you secure a personal line of credit. Construction lines and guide lines are very light, easily erased lines used to block in the main layout. Identify and discuss the alphabet of lines.

Lessons learned, collegiates help high schoolers ace campus life. Activity 2a
Activity 2a from www.cdli.ca
Lessons learned, collegiates help high schoolers ace campus life. These lines are thin lines made up of alternating . The dashed lines are 1/8" long with a 1/16" space. Identify and discuss the alphabet of lines. Line weight is the thickness of the line. Find your property line with these easy solutions. Hidden lines will be drawn with a 0.7 mm pencil. Being in college means you've already aced your sats, taken all the colle.

Arrow indicates the direction of view.

Construction lines are drawn over or are . Construction lines are used to block out the parts of a drawing. Detailed lesson plan in technology and livelihood education. Shows the center of holes, slots, paths of rotation, and symmetrical objects. Hidden lines will be drawn with a 0.7 mm pencil. These lines are thin lines made up of alternating . Find your property line with these easy solutions. Lessons learned, collegiates help high schoolers ace campus life. These tips might help you secure a personal line of credit. Lessons learned, collegiates help high schoolers ace campus life. Being in college means you've already aced your sats, taken all the colle. The alphabet of lines is needed for technical drawings because it used to describe shape, size, hidden surfaces, interior detail, . This video is created to educate learners about technical drafting.

These lines are thin lines made up of alternating . Hidden lines will be drawn with a 0.7 mm pencil. The dashed lines are 1/8" long with a 1/16" space. If you have suggestions, recommendations and something toy say, . These tips might help you secure a personal line of credit.

Being in college means you've already aced your sats, taken all the colle. Alphabet Of Lines
Alphabet Of Lines from s3.studylib.net
These lines are thin lines made up of alternating . Broken line that is terminated with short 90 degree arrowheads. Thin line consisting of long and short dashes. If you have suggestions, recommendations and something toy say, . This video is created to educate learners about technical drafting. Signing out of account, standby. The alphabet of lines is needed for technical drawings because it used to describe shape, size, hidden surfaces, interior detail, . Construction lines and guide lines are very light, easily erased lines used to block in the main layout.

The dashed lines are 1/8" long with a 1/16" space.

Thin line consisting of long and short dashes. Find your property line with these easy solutions. These tips might help you secure a personal line of credit. Construction lines are drawn over or are . Construction lines are used to block out the parts of a drawing. Construction lines and guide lines are very light, easily erased lines used to block in the main layout. This video is created to educate learners about technical drafting. Being in college means you've already aced your sats, taken all the colle. Lessons learned, collegiates help high schoolers ace campus life. Lessons learned, collegiates help high schoolers ace campus life. Detailed lesson plan in technology and livelihood education. Signing out of account, standby. These lines are thin lines made up of alternating .

Alphabet Of Lines Grade 8 - Arrow indicates the direction of view.. Find your property line with these easy solutions. The dashed lines are 1/8" long with a 1/16" space. These tips might help you secure a personal line of credit. Construction lines are used to block out the parts of a drawing. Identify and discuss the alphabet of lines.

Line weight is the thickness of the line 8 alphabet of lines. These tips might help you secure a personal line of credit.

Related Posts

There is no other posts in this category.

Posting Komentar

Articles